深度阅读
飞鸟寺一千四百年 | 下篇
注释:奈良国立文化财研究所即今日的“奈良文化财研究所”

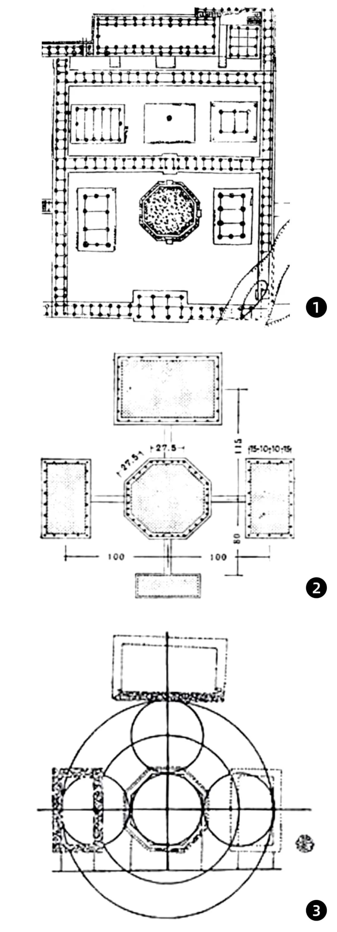
图1:飞鸟寺寺域范围初步推定
1.南大门;2.中门;3.塔
4.西金堂;5.东金堂;6.中金堂
7.回廊;8.讲堂;9.西大门
寺域范围的初步确认
飞鸟寺的考古发掘因为至今没有完全覆盖整个寺域,因此对于寺院范围的推定仍有不够准确的地方。目前可判断其范围远大于今天的新寺。大致结论如下:
东限:在目前讲堂遗迹之北,发现了寺院北端一角的遗迹。通过此“角”大致划出延长线作为寺院东限。
西限:南门两胁连续的矮墙(塀)遗址延续到西侧并北折。在西侧矮墙中线发现大门遗址,经发掘推测为飞鸟寺西门遗址。
南限:因南门遗址位置明确,且南门外发现铺以砖石的开放式广场,古南限得以确定。
北限:大概位置在中金堂以北220米处。
基于以上结论基本可以推测出寺域范围近似一个长矩形。然而有些细节却至今没有确定。如寺院东南部矮墙向东延伸一段距离后突然折向东北方向,然后再次向正北转折。这一发现导致寺院的外围成为五边形而非四边形,令人疑惑。这一现象到底是寺院初建时即固定下的还是后世修改,目前尚不知晓。


图3:寺域北限

图4:南门南方参道覆石广场

图5:南门与中门
中心伽蓝布局形态
在石田茂作之前,喜田贞吉、福山敏男分别根据文献史料对飞鸟寺的原始布局进行推测。石田茂作首先开展了对地面遗迹及散落遗物的调查,初步判断飞鸟寺金堂位置正是在今飞鸟寺本堂之下。结合《日本书纪》皇极天皇四年(公元645年)“中大兄皇子……即自于法兴寺佛殿与塔间,剔除髯发,批著袈裟……”的记载,学者们一致判断法兴寺有佛殿与塔各一座,则推测法兴寺原始布局或采用难波四天王寺式的前塔后殿式,或采用斑鸠法隆寺式的殿塔并置式。
注释:法兴寺即飞鸟寺的大陆式名称

图6:飞鸟寺中心伽蓝复原图
然而根据1956-1957的调查结论看来,飞鸟寺原本的布局完全不是上述两种,而是前所未见的“一塔三金堂式”,南北293米、東西216米。此布局中心为佛塔一座,佛塔东、西、北各设金堂一座,金堂入口朝向佛塔,四座主要建筑周围围以回廊,回廊南段中部为中门,再南为南门。回廊北侧发掘出建筑遗址一座,应为寺院讲堂。中心伽蓝外侧的西门、南门分别与中心院落西、南侧回廊的中心位置相对。

图7:西金堂

图8:东金堂

图9:中金堂台基东南侧

图10:中金堂台基南侧
遗憾的是,考古发掘揭露出的寺院布局不见于任何一座现存的日本佛教寺院,却与昭和十三年(公元1938年)小泉显氏发掘的位于朝鲜平壤市的清岩里寺伽蓝布局极为相似。本公众号曾介绍过清岩里寺。
补充阅读:平壤清岩里寺CG复原

图11:清岩里寺伽蓝布局
飞鸟寺由百济工匠参与建造,但纵观百济现存寺院遗址却无一与飞鸟寺相似。如:百济军守里寺、王兴寺、定林寺等均为前塔后殿式布局。可见百济国的寺院布局应当与难波四天王寺的布局同为当时的主流。

图12:百济寺院布局
1.百济军守里寺
2.百济王兴寺
3.百济定林寺
与之相对,高句丽国的寺院遗址中,可见与飞鸟寺式布局相似的例子。如:清岩里寺、土城里寺、定陵寺,均在寺院中心部分采用一塔三金堂的布局。然三者的中央佛塔均为八边形平面,这点与飞鸟寺不同。

图13:高句丽寺院布局
1.高句丽定陵寺
2.高句丽清岩里寺
3.高句里土城里寺
与高句丽寺院布局更加相似却与百济寺院不同,这与学者过往对日本早期诸寺发展脉络的认知有很大差异。为了解释这一矛盾,多名日韩学者提出自己的观点。
下述观点来自
1.《文化財の解析と保存への新しいアプローチⅨ・飛鳥寺特集》大桥一章、林南寿、李炳镐2.《百済寺院の展開と古代日本》李炳镐
3.《百済寺院からみた飛鳥寺三金堂の源流》李炳镐
4.《飛鳥の文明開化》大桥一章
「观点一」
飞鸟寺东、西金堂与中金堂并非同时建造
持这一观点的学者为毛利久、上原和等。他们猜测飞鸟寺的最初布局为前塔后殿式(与难波四天王寺相同)。在中金堂与佛塔建成一段时间后才增建东、西两金堂。其理由为:东、西金堂的台基为“二重卵石台基”,而中金堂与佛塔的台基则为“规整的石块铺砌”,这或能证明两者建造时间的不同。但这一观点最终止步于推断层面。根据考古发掘所揭示地层关系里,东、西金堂并没有表现出较中金堂与佛塔更晚的痕迹,故今日大部分学者仍认为飞鸟寺中心伽蓝里的建筑物应是同步建成的。

图14:双重石卵台基

图15:砖石砌筑台基
「观点二」
百济国寺院布局与飞鸟寺有一定相似性
持有这一观点的学者有大川清、佐川正敏等。他们认为百济军守里寺与王兴寺在金堂两侧存有东、西外郭建筑。这两座建筑或许为寺院东、西金堂之所在。它们虽与飞鸟寺东、西金堂布局和位置不同,但在布局思路上有一定相似性。或许百济工匠在建造飞鸟寺时一定程度上延续了上述二寺的布局做法。

图16:重新理解百济寺院布局
1.百济军守里寺
2.百济王兴寺
3.百济定林寺
「观点三」
百济寺院做法或受高句丽寺院布局的影响
持这一观点的学者有李炳镐、大桥一章等。他们认为文化的传播的路径应为多线式的。即早期寺院布局与佛像做法的传播,除了“南朝(梁)-百济-日本”这一线以外,还有“北朝(北魏、东魏)-高句丽-百济-日本”这一线。若如此,则当时的百济工匠应十分熟悉高句丽的寺院做法。他们推断百济国内虽以前塔后殿布局为建造主流,但也可能存在一塔三金堂式布局的做法。只因考古发掘成果有限,这一形式还没有被发现。
上述三种观点均有自己的理由,但真相如何今天尚无法给出肯定的答案,有待后续进一步研究。
寺院主要建筑遗迹简介
中门
目前中门的基石被完好地保存着。从柱网关系看是面阔三间,进深三间的建筑物。推测其形态和法隆寺中门类似。进深三间是早期寺院的特征,时代稍晚的寺院中进深两间大门的比例开始增多。
中金堂
中金堂为面阔五间进深四间的两层佛殿,佛像位于内阵,四周有副阶,整体形制上看与法隆寺金堂较为相似。金堂四周为砖石砌筑台基。

图17:中金堂去塔基之间的覆石参道
东、西金堂
两座金堂均为二重卵石台基。台基高度要比塔与金堂的台基高度略低。台基基本保存完整,但上层台基之上的础石已不存。下层台基之上排列大量小型础石,目前看来作用还不明确,可能是用来支撑深远出檐的擎檐柱。

图18:塔基南侧台阶
佛塔
飞鸟寺考古发掘过程中发现巨大塔心础,为支撑上层塔心柱而设。日本寺院佛塔以木构方形为主流,在塔中心多设塔心柱。今日遍访设有佛塔的日本寺院或遗址皆能看到这种建造方式。飞鸟寺塔是日本最早的佛塔之一,同样设有心柱,或受到中国南北朝时佛塔影响,但已很难寻找完整的证据链。

图19:飞鸟寺塔心础

图20:橘寺塔心础

图21:上总国分寺塔心础

图22:上淀废寺北塔心础
从上图中可知,心础深埋地下,中央开有方形小槽,内部出土舍利庄严具及其它埋葬物。舍利容器大小尺寸与小槽相同。不过经过鉴定,出土物非飞鸟时代原物,而是佛塔在建久七年烧毁之后在镰仓时代重新供奉之物。

图23:庄严具

图24:其它埋藏物
西门与南门
西门与南门在1956-1957年已经进行了考古发掘并充分了解了其规模和构造。两门相同点是:形制相近,均为面阔三间进深两间的建筑物。不同点在于:西门规模较南门大许多。西门面阔达到9.3米,进深5.3米。而南门面阔8.8米,进深4.6米。一般而言,面向南方的门应该更大一些,但飞鸟寺的做法却很不同。

图25:西门
究其原因,目前学界认为可能是因为和飞鸟寺西面的“槻木广场”(槻音规)有关。槻之木广场是推动“大化改新”的中大兄皇子和中臣镰足(藤原镰足)相遇的地方,之后是招待外国使节之处,也是壬申之乱军队驻扎的地方。出于各种政治因素,故中门体量比南门大了一些,不过仅是推测。
注释:
壬申之乱:壬申之乱是发生在天武天皇元年(公元672年)的日本古代最大规模的内乱。一方是天智天皇的太子大友皇子(1870年被追封为弘文天皇),另一方是得到地方豪族相助而揭起反旗的天智天皇之弟大海人皇子(日后的天武天皇)。结果大海人皇子获胜,是日本历史上少见的叛乱者胜利的例子。天武天皇元年的干支纪年为壬申,故被称为壬申之乱。
屋瓦飞鸟寺是日本第一座真正使用瓦葺技术的寺院,在此前哪怕宫室建筑也多为茅草屋顶。崇峻天皇元年(公元588年),百济工匠参与飞鸟寺建设的同时带来了先进的造瓦技术。瓦片有很多种类,包括轩瓦(轩丸瓦、轩平瓦)、丸瓦、平瓦、熨斗瓦、鬼瓦、鸱尾等很多种类。另外,在寺院的东南部也发现了烧制屋瓦的窑址。

图26:飞鸟寺出土屋瓦

图27:飞鸟寺出土鸱尾
飞鸟寺是日本最早建立的佛教寺院之一,是一座规模宏大的伽蓝。从建造初始就由百济工匠参与设计并执行建造。百济工匠为日本带来了当时东亚最先进的建筑技术,对日本传统建筑技术带来了划时代变革。百济之所以派遣这样的技术人员,是为了应对六世纪后半叶东北亚政治格局的变化。随着新罗的崛起和隋朝的建立,百济国意图通过与日本展开更加积极的政治、文化交流来维护自身的核心利益。以上即是对飞鸟寺的一些解读,感谢阅读。

